
腾讯科技讯 据外媒报道称,美国国家专利局近日在其官方网站上曝光了苹果公司疑似VR头显的最新专利,这或许代表着苹果将大举加入VR混战。

今年虚拟现实领域发展速度非常快,Facebook旗下的Oculus和HTC始终是这个战场上的主力,他们以Rifi和Vive VR头显来抢占市场。后期索尼也开始步入VR混战之中,在今年十月他们将发布自家的PlayStation VR头显。尽管目前虚拟现实行业中大家都将目光集中在这三家巨头上,但实际上还有第四个巨头,只不过它还在沉睡之中。这个巨人的名字叫做苹果,但近日从近日透露的消息显示它已经开始蠢蠢欲动,意图加入VR混战。
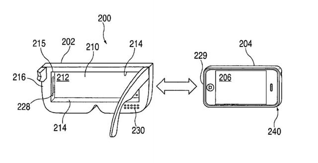
近日,根据美国国家专利局在其官方网站上曝光了苹果疑似VR头显的专利。据透露,这项专利是一款“便携式头部显示电子设备”。

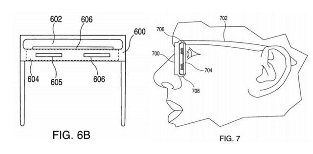
根据曝光的专利文件描述可以发现,这款设备是一款比较类似的眼镜设备,它是一款可以将手机放入其内的框架,并将手机屏幕放置于用户眼前的设备,其中在用户双眼和手机屏幕之间存在着光学组件,用于接收手机屏幕上的图像。整体的设备将有可能包含内置耳机、设备连接器、一个眼镜状的框架和定制的镜头。
事实上,苹果的这款专利设备和三星的Gear VR有很多相似的地方,而明显的区别在于苹果的这款设备拥有内置的耳机、苹果的Lightning接口以及定制的镜头。另外,从专利文件的描述中可以发现,苹果似乎要着重保护的就是“以物理接口的形式让头显和手机更为直接的连接起来”这项技术。

虽然这款专利曝光后让很多人感到兴奋,但对于像是苹果这种拥有庞大研发部门的公司来讲,概念和原型生产远快过对其进行检查或实施。因此申请专利并不意味着会就会推出相应的产品。但至少苹果的这项专利表明它有进军虚拟现实领域的想法和意图,有可能会在短期内就开始实施。
其实这并不是苹果第一次向美国国家专利局提交关于VR的专利,在这次曝光的专利之前,苹果已经向美国国家专利局提交了七个跟VR有关的专利了,而早在2008年9月,苹果就向美国国家专利局提交了这次曝光的专利的前身。
虽然这项专利只是苹果内部工作的一小部分,但它足以让我们开始期待苹果在VR领域的大动作了。(编译/唐果)













